맞았습니다!!
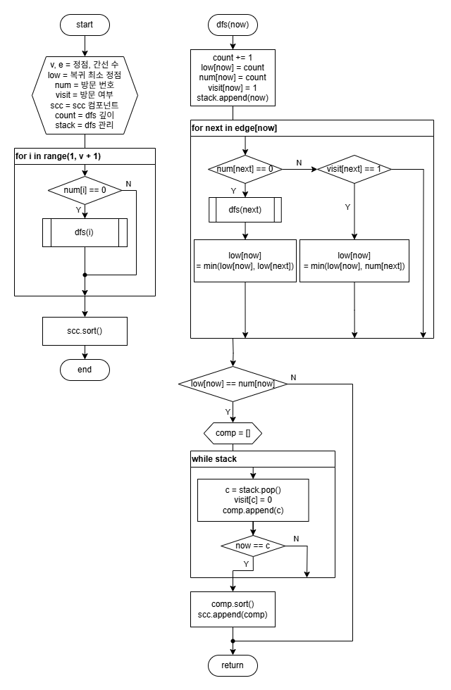
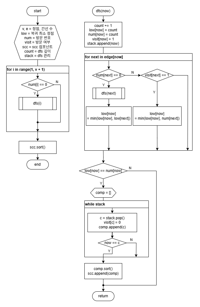
타잔 알고리즘 순서도
2025. 6. 11. 11:46
·
PS/Algorithm
이걸 그리면 좀 기억하는데 도움이 될까 싶었는데
도움은 별로 안 된 것 같고요...
공유하기
게시글 관리
맞았습니다!!
저작자표시
비영리
변경금지
(새창열림)
타잔 알고리즘 순서도
구독하기
테마
상단으로
티스토리툴바